搜索
English 热门搜索词
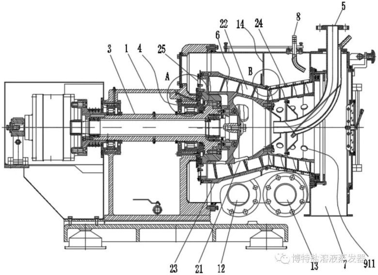
导读 卧式螺旋沉降(或浓缩)过滤离心机是悬臂式浓缩过滤组合式离心机,在两个不同的分离阶段上将卧式螺旋卸料沉降离心机与卧式螺旋卸料过滤离心机的工作原理和特点结合起来,达到分离最佳效果。在第一个固液分离阶段,物料在转鼓沉降区域脱水,将分离浓缩后的固体推至过滤区域,清液则从出液口排出;在第二个固液分离阶段,浓缩过的物料在过滤转鼓中脱水,进一步降低固相中的含水率。
连续式沉降浓缩型螺旋卸料过滤离心机主要由转鼓和推料螺旋组成,转鼓分为沉降区和过滤区,物料在强大的离心力场的作用下,在沉降转鼓中迅速分层,分层后的液相从转鼓尾部的沉降孔流出转鼓,经机壳沉清液集液槽流出机壳,分层后的固相由推料螺旋叶片推向过滤转鼓,带着部分液相的固相在过滤转鼓的筛网上进行快速的薄层脱水的同时,利用差速器产生的转速差由螺旋推料器上的螺旋连续地将滤渣从离心机的前部方斗排出,过滤后液相从经机壳过滤液集液槽流出机壳。离心机连续全自动工作,具有体积小、相对能耗低等特点。
设备组成及说明
卧式螺旋沉降(或浓缩)过滤离心机包括底座和设置于底座上的机壳,在机壳内依次设置有驱动电机、转鼓和与转鼓同轴连接的驱动轴。转鼓的靠近驱动轴连接的一端为沉降转鼓,远离驱动轴的一端为过滤转鼓,转鼓在沉降转鼓与过滤转鼓的连接处的直径最小,过滤转鼓的直径在向远离驱动轴的方向逐渐增加。在过滤转鼓的外转鼓上可拆卸地设置有过滤桶,过滤桶包括设置有若干通孔的桶体和设置于桶体内表面的过滤网,过滤桶的两端分别与转鼓的沉降转鼓的靠近过滤转鼓的边缘和过滤转鼓的远离沉降转鼓的边缘通过螺栓连接。该离心机能实现对物料的充分离心、过滤,且便于对转鼓上积存物料的清理。

工作流程
该离心机连续地对悬浮液进行进料,脱水,洗涤,卸料等操作。机器运行时,首先接通电源,主机启动并自动升速,当达到预定值时,进料阀打开,物料通过进料管和位于螺旋体中部的分配推进入离心机的沉降段中,对固体含量低的浆料进行预脱水,达到增稠效果,并且有效保证沉降段的澄清。通过在离心机背侧的一个可调溢流装置而将部分液体排出。分离出澄清的液体。固料被预增稠并输送到离心机的筛网进一步脱水,必要时可安排冲洗。根据生产需要,两股液体可分别排放,或合成一股后通过单个旋流器或双旋排放。
主要优点
产量高(固体损失小),且成品干度高
悬臂式设计,筛网易更换,无需拆卸螺旋密封装置
筛网部件寿命长
典型应用及适用范围
适用于化工、制药等行业中的固液分离,其具有处理量大,分离后的固相含湿量低等特点。尤其针对母液含固量低或者母液中含少量油性物质的工况,效果更明显。适用范围如下:
分离的颗粒直径一般为0.10~10mm,范围在0.3~5mm的颗粒,效果尤佳。
分离形状为线状及晶体状的固体效果较好。
悬浮液和沉积固体的分离。
文章来源:左右名言,文章仅做分享 2026上海国际粉体技术工业展览会、IPIE2026第三届上海国际高端粉体装备与科学仪器展览会10.28-30日上海跨国采购会展中心重磅启幕! “无粉不成材”——粉体技术是高端制造的基石!高端粉体装备与科学仪器推进粉体工业的进步与发展!2026上海国际粉体技术工业展览会、IPIE2026第三届上海国际高端粉体装备与科学仪器展览会(简称IPIE上海国际粉体展),作为行业标杆展会,汇聚全球资源,助您拓展商业版图,引领技术革新。 展位预订火热进行中,锁定IPIE2026黄金展位,产品订单滚滚来,欢迎预订咨询~
IPIE2026展会咨询/展会预定: 郝女士 18660997743(微信同号) 媒体合作: IPIE小助手 15216870501(微信同号)
